
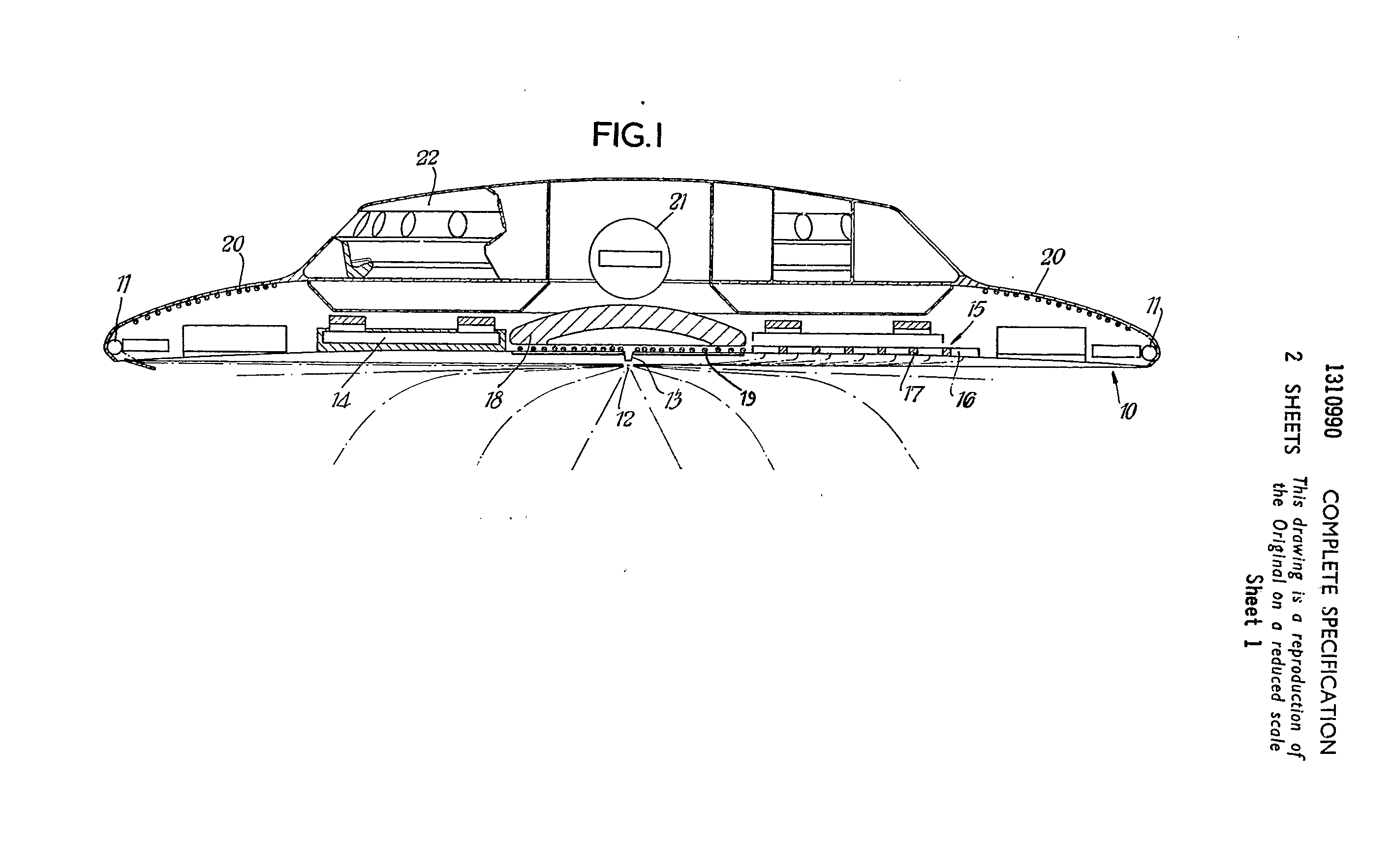
Right now and through March 2022, I’m artist in residence at Pervasive Media Studio, in the Watershed building in Bristol. I’m researching British Fusion, a performance and VR/AR/XR experience inspired by British Rail’s bizarre patent application for a flying saucer as a means of public transport in the early 1970s. I’m interested in imagining and manifesting (and helping other people to imagine) positive futures; what an amazing future we could have had if flying saucers had come into service, and remained in public ownership…
I’m also really interested in making an augmented reality experience that uses all of our senses and faculties and doesn’t make people like me want to vomit, if we can see it at all. VR headsets, particularly, always feel to me like our senses are being taken away and in most cases replaced with something far inferior.
There will be more here on the site as the project develops.
