Installation, objects, digital, performance

A live and fully interactive journey on one of Britain’s nationalised, fusion powered flying saucers in a utopian 19A0s. Like a real British train, much delayed and underfunded… But hopefully to be in production soon.
In early 2022 I was artist in residence at Pervasive Media Studio, which is based at Watershed in Bristol. I was doing early research development for an accessible VR/AR/XR experience that has turned into a potentially gigantic project… British Fusion.
Scroll down this page for more storyboard and concept images, and view some of the first promo videos – using the latest video cassette technology – on the videos page.
Update 2024: New 3D concepts, scroll down to the bottom of this page.
Our collective futures often seem very bleak, whether they’re fictional or all too real. The coronavirus pandemic has developed into an equally horrifying and mind-bindingly tedious dystopia of needless death and illness, profiteering and incompetence which seems to have brought out the worst in many of our fellow humans. It feels as if imagining a more positive future right now is more than a vague or idle hope; it’s a necessity. 21st century environmental activists, valuable as they are, tend to be really good at shaming and stigmatising individuals for not doing enough but really bad at offering either positive things to aspire to or practical solutions that actually have impact rather than just assuaging guilt.
There were also plenty of dystopias and disasters in our literature and entertainment when I was child in the 1970s, from the influence of Rachel Carson’s ecopocalyptic Silent Spring to Soylent Green (set in the far flung year of 2022!) where a food crisis is solved by recycling people into the eponymous foodstuff, with a side order of euthanasia. But we also saw a lot of optimistic, silver-lamé-clad, robot-filled, ecologically aware, inclusive, sexually adventurous, Afrofuturist, floating in space and above all really, really DISCO futures in that period too. We don’t seem to have those any more.
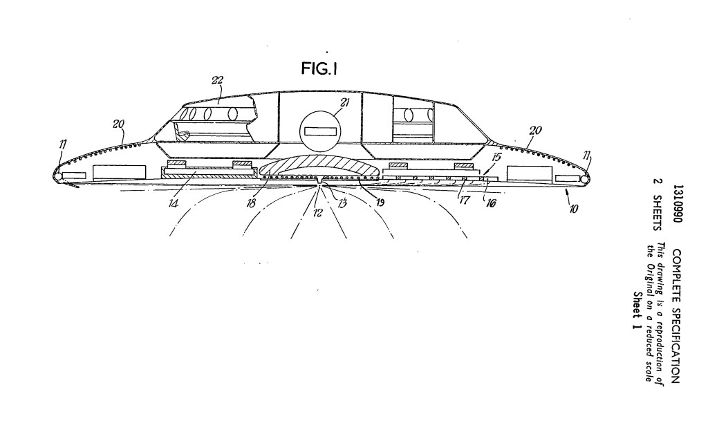
I started with the weird discovery that in the early 1970s Charles Frederick– an employee of the then nationalised British Rail who sadly passed away very recently so I never got to contact him– filed a patent for a flying saucer as a means of public transport. You don’t need to be a long suffering passenger of privatised British public transport to know that we didn’t even get trains that can run on time at a reasonable cost, let alone the publicly owned and operated flying saucers that we all deserve. British Rail didn’t even bother to renew the patent (probably because you have to pay) and it lapsed in 1976.
But this got me thinking about how the history and culture of our country could have forked at that point if there had been the will and the resources to make gravity-defying flying saucers, along with the clean fusion energy plants to power them. More or less free and unlimited energy would avert, to pick one huge example, the energy crisis of the 1970s. Without the austerity and hard times of the seventies, with oil and car companies cut off at the knees, we might be living in a much kinder and and more equitable world. This is the world that I’d like people to be able to visit for a while, to feel and experience with all their senses.
This work remains in active development, to eventually be a fully immersive hybrid built/digital environment with live performers in addition to a full complement of passengers. For now you can check out some concept images below, or check out some of the promo videos on the next page.




(Above) British Fusion poster.

(Above) British Fusion set, wide view.

(Above and below) Discussion lounge.


(Above and below) Performance/disco area.


(Above) View of the disco area from the discussion lounge. Discussion… disco… DISCOSSION.

(Above and below) Alternate cafe-style lounge area or waiting room.
